TNflow - Flow Measurement Software 

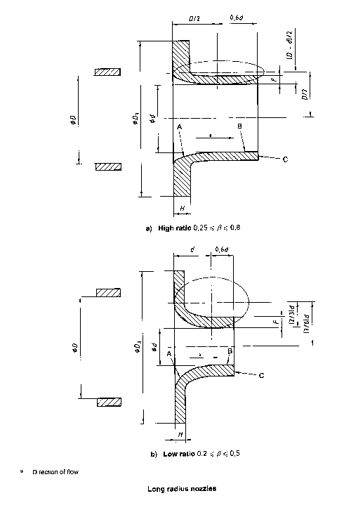
Long radius nozzles